永利中国

永利(中国)集团官方网站
永利(中国)集团官方网站

Technical article

Home - News - Technical article

Standards and manufacturing make the world re-recognize Minxuan No. 6: Minxuan siphon

Time: 2017-08-23    View: 7027    Burst: 

The siphon is a dryer drainage device that uses the principle of siphon to drain the condensed water in the dryer to increase the surface temperature of the dryer. The syphons produced on the market are divided into two categories, one is a fixed syphon, and the other is a rotary syphon. The fixed syphon is fixed at a certain point outside the drying cylinder and does not rotate with the drying cylinder; the rotary syphon is fixed inside the drying cylinder and rotates together with the drying cylinder.
The fixed syphon can be applied to almost all equipment with a speed above 100 m/min. The cantilever fixed syphon can also be applied to paper machines driven by open gears and closed gears, which can minimize the equipment's cost. Vibration and deflection make the heating effect of the drying cylinder to a higher level.
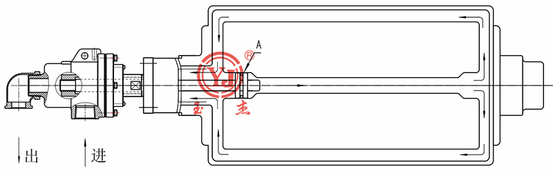
The company can provide various forms of rotary syphons, including conventional simple syphons and low-pressure differential rotary syphons. Rotary syphons are usually suitable for medium-speed paper machines. Because the gap between the suction nozzle of the siphon and the cylinder wall is very small, the thickness of the formed water ring is very thin, so the heat conduction effect is better. The rotary syphon produced by our company has few assembly parts. At the entrance of the syphon, there is a stainless steel suction nozzle welded with the vertical condensate pipe, and at the other end there is a pressure plate supported by a spring to position the syphon. The common siphon structure of our company:

1. Fixed syphon
1) Hose siphon
Hose-type siphon is used in conjunction with the rotary joint according to the characteristics of the drying cylinder; the siphon is made of a flexible stainless steel metal hose, which depends on its own weight and freely sags to the bottom of the drying cylinder, so the installation is very convenient.


永利(中国)集团官方网站

Features:
1) The hose structure is not limited by the size of the dryer journal and the diameter of the dryer, and it is easy to install;
2) The flexible sag of the hose needs to be considered in the calculation. Due to the flexibility of the hose material, the distance between the suction nozzle and the inner wall of the dryer cannot be controlled, and it is easy to cause too much water in the dryer or the nozzle mouth of the hose and the dryer. Friction on the inner wall;
3) The weight of the siphon hose will increase after absorbing water, and the sag height of the hose will increase, which will easily cause the cylinder to be wiped. The company's siphon sag is recommended to be 25mm;
The drooping siphon hose has no rigidity. After being impacted by the condensed water, it will swing and shift the suction position. It is suitable for low-speed rotating equipment.

2. Internal support type 90° locking syphon
Inner tube support fixed syphon is a cantilever fixed syphon supported by an internal carbon sleeve. The sturdy stainless steel horizontal and vertical pipes are fixed by a proprietary locking mechanism. The elbow consists of four parts: the main body, the swing body, the locking screw and the spring. All components are made of stainless steel.


永利(中国)集团官方网站

Features:
1) The structure of the siphon is not restricted by the size of the dryer journal and the diameter of the dryer, and it is easy to install;
2) The horizontal tube is internally supported to strengthen the strength of the horizontal tube;
3) The distance between the suction nozzle and the inner wall of the dryer can be the closest;
4) Better avoid the danger of being damaged due to the impact of water flow.

3. Elbow siphon


永利(中国)集团官方网站
Features:
1) Hinge connection is adopted, which is convenient for installation and maintenance;
2) The inner hole of the two elbow joints is sealed with a finely ground ball head and the inner hole is connected with it. In addition, the tightening spring makes the two elbow joints form a good seal;
3) Suitable for low-speed rotating equipment.

4. Spring-locked elbow siphon


永利(中国)集团官方网站

Features:
1) All stainless steel design, high manufacturing strength;
2) It adopts a hinge structure and is locked by a stainless steel spring, which can be straightened during installation;
3) Can be installed directly from the inner hole of the dryer cylinder journal, easy to use;
4) The seal adopts a drooping convex spherical surface and a horizontal concave spherical surface for good sealing performance.

5. Elbow syphon

永利(中国)集团官方网站
2) When the siphon is installed, it is limited by the curvature. The size of the inner hole of the dryer shaft diameter should be considered when calculating. This structure is suitable for the equipment with large inner hole of the dryer shaft diameter and low operating speed.    Rotary syphons have a higher operating speed than fixed syphons. Because the gap between the suction nozzle of the siphon and the cylinder wall is small, the thickness of the formed fluid medium is thin, so the conduction effect is better. The main types of rotary syphons produced by our company are as follows:

Features:
1) The overall design is made of stainless steel or carbon steel, with high manufacturing strength;
2) When the siphon is installed, it is limited by the curvature. The size of the inner hole of the dryer shaft diameter should be considered when calculating. This structure is suitable for the equipment with large inner hole of the dryer shaft diameter and low operating speed.


2. Rotary syphon
Rotary syphons have a higher operating speed than fixed syphons. Because the gap between the suction nozzle of the siphon and the cylinder wall is small, the thickness of the formed fluid medium is thin, so the conduction effect is better. The main types of rotary syphons produced by our company are as follows:
1
永利(中国)集团官方网站
2
永利(中国)集团官方网站

3

永利(中国)集团官方网站

4
永利(中国)集团官方网站
5

永利(中国)集团官方网站
6
永利(中国)集团官方网站

Your satisfaction is our pursuit! For product details, please call 0595-22201044 for consultation.

Copyright ?Fujian Minxuan Technology Co., Ltd. all rights reserved 闽ICP备05026600号 中机标准化研究院 BY:KEW

网站地图